品牌元件·达孚制造
NTC温度传感器是一种热敏电阻、探头,其原理为:电阻值随着温度上升而迅速下降。其通常由2或3种金属氧化物组成, 混合在类似流体的粘土中,并在高温炉内锻烧成致密的烧结陶瓷。实际尺寸十分灵活,它们可小至0.010英寸或很小的直径。大尺寸几乎没有限制,但通常适用半英寸以下。
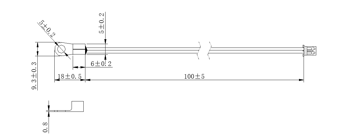
外形尺寸:

特点:
●灵敏度高,响应速度快
●阻值和B值精度高,一致性互换性好
●采用双层包封工艺,具有良好的绝缘密封性和抗机械碰撞,抗弯折能力
●结构简单灵活,可根据客户不同设秆要求定制
产品应用范围:
●空调,冰箱,冷柜,热水器,饮水机,暖风机,洗碗机,消毒柜,洗衣机,烘干机以及中低温干燥箱,恒温箱等场合的温度测量与控制。
●汽车空调,水温传感器,进气温度传感器,发动机。
●开关电源,UPS不间断电源,变频器,电锅炉等。
●智能马桶,电热毯等。